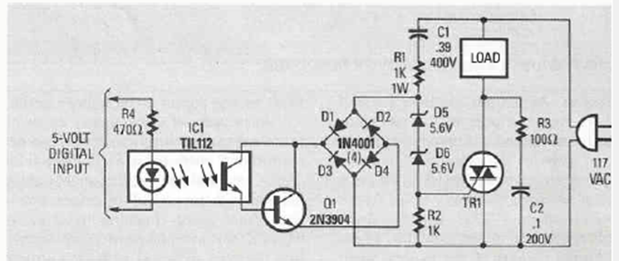
This shield with full-wave triggering was found in the Radio Electronics Experimenter magazine of 1989. The Triac must be according to the load that must be controlled.
This unusual audio amplifier configuration was obtained in a 1974 documentation. The PNP...
This circuit was obtained in a 1990 English magazine. The circuit can be assembled with equivalent power...
Found in National Semiconductor documentation, this logarithmic meter is powered with a voltage of only...