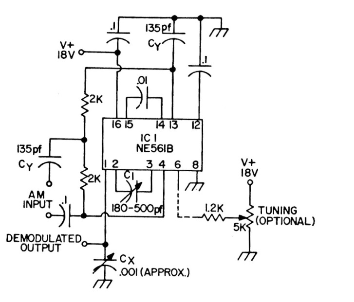
With this circuit it is possible to tune an AM signal using a 5k potentiometer (4k7). The circuit was found in a publication from the 1980s and the PLL can be replaced by an equivalent one, with tests.
With this circuit it is possible to monitor the charge and discharge of a battery. The circuit is...
Found in 90s Radio Electronics, this shield can control high voltage loads in the power grid....
The duration of the output pulse in this circuit depends on C. This capacitor can have values in...