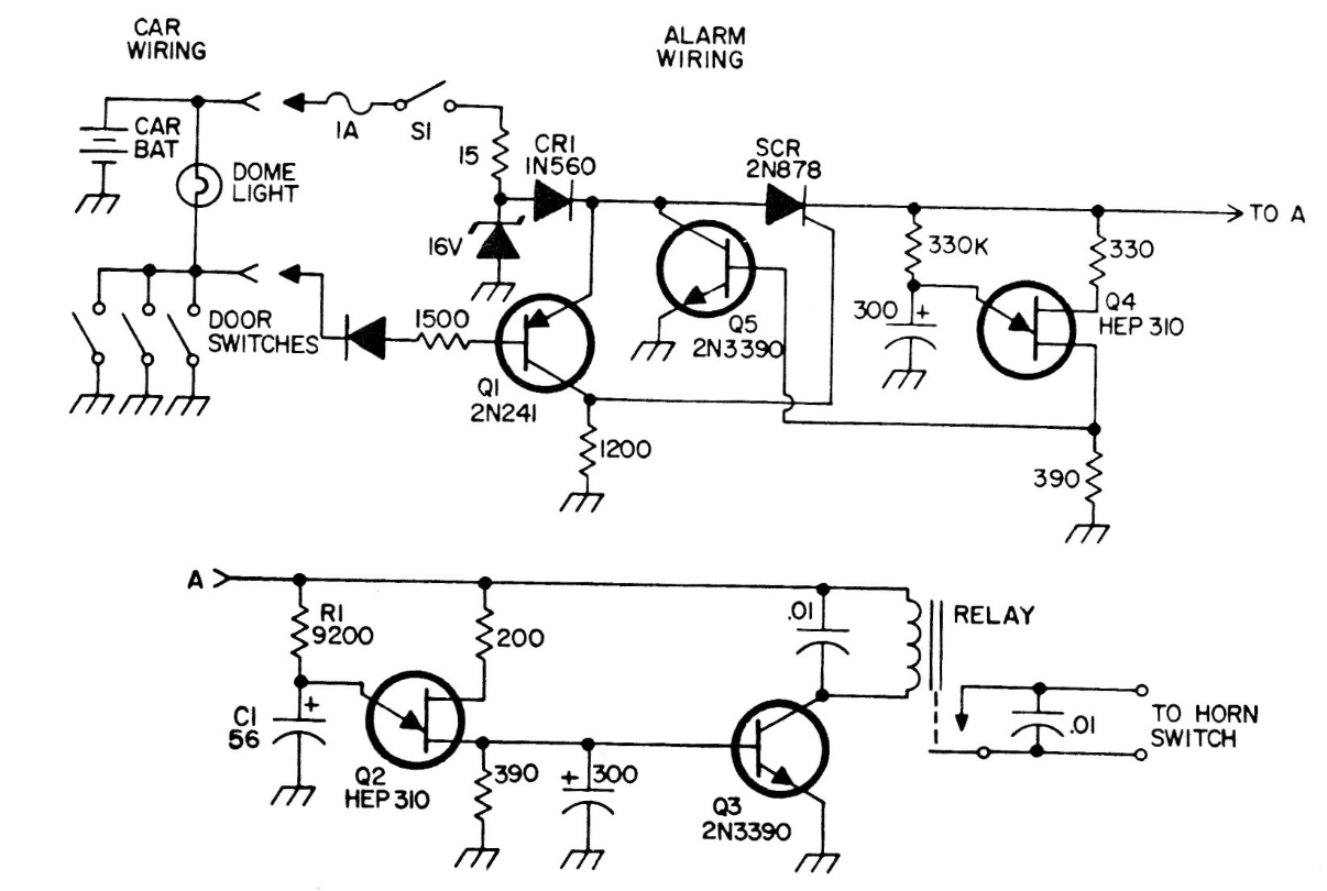
This circuit was found in an American publication from the 1970s. The circuit uses components from the era that can be replaced by modern equivalents. This circuit has a reset after 1.5 minutes. The relay is 12 V high current.
This circuit was found in an American publication from the 1970s. The circuit uses components from the era that can be replaced by modern equivalents. This circuit has a reset after 1.5 minutes. The relay is 12 V high current.