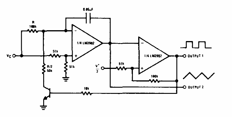
This VCO makes use of components from the 1980s. The circuit can be implemented with modern operators.
This high frequency pulse generator was found in an old American documentation. The circuit makes use...
This small 1 W amplifier uses a Motorola integrated circuit from the 1970s. The integrated circuit...
We found this circuit in a 1966 RCA manual. The integrated circuit is unusual, and the Triac must...