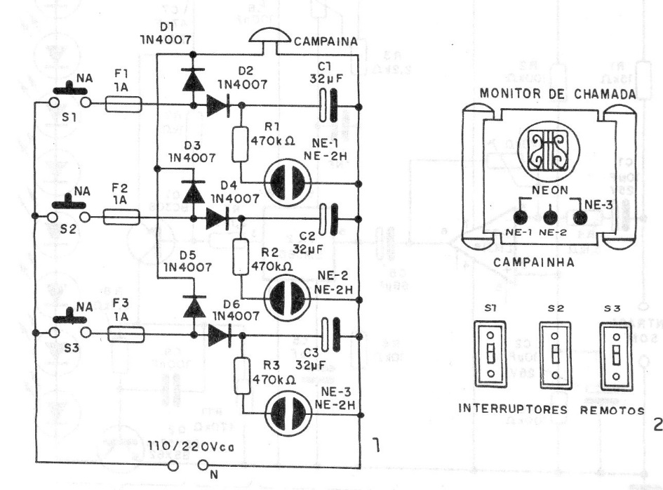
This very simple circuit from a 1995 documentation lets you know which input button was triggered when a bell ring. This circuit is interesting when the doorbell can be activated from three different entrances in a residence or other location.
This very simple circuit from a 1995 documentation lets you know which input button was triggered when a bell ring. This circuit is interesting when the doorbell can be activated from three different entrances in a residence or other location.