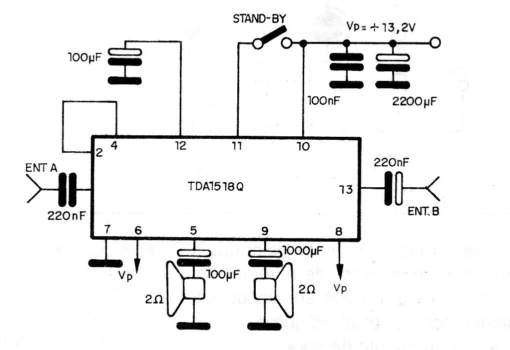
This amplifier provides an output power of 11 watts per channel on load of 2 ohms (stereo), with a power supply of only 13.2 Volts which makes it especially suitable for automotive applications. The circuit is suggested by Philips Components and has 30k of input impedance with a peak consumption current of 4 amps. The integrated is presented in a 13-pin DIL housing suitable for mounting on a heat radiator. The quiescent current is 30mA and it has a switch for standby condition with a consumption current of only 0.1 uA (typ.)




