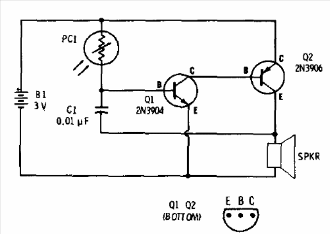
We found this experimental musical instrument in a 1977 Radio Shack brochure. The sound produced depends on the shadow made on the sensor which is an LDR. The transistors can be BC548 and BC558. The circuit works with voltages from 3 to 9 V. The basic frequency of the sound can be modified in C1 and the speaker is 8 ohms.




