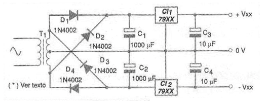
In most circuits where operational amplifiers are used, a positive voltage and a negative voltage are required for the supply. These voltages are obtained from a symmetrical source or source of two voltages, one positive and one negative. In the figure we have a power supply circuit from 6 to 15 V, depending only on the transformer and the regulator integrated circuit used. In fact, what we have is a source that combines the two previous circuits, in one having a unique land reference. The transformer must have a secondary with a voltage of approximately 2 volts more than the desired voltage at the output of the symmetrical source. For example, for a 12 + 12 V source, use a 15 + 15 V transformer. The maximum current of this source is 1 A and this must be the maximum current of the secondary of the used transformer. Voltage regulator integrated circuits must be mounted on heat radiators.




