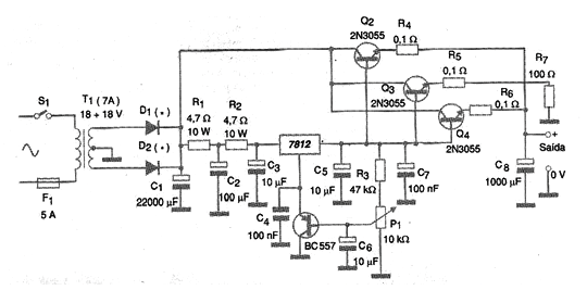
Using an integrated voltage regulator as a reference, we can control several power transistors of type 2N3055 and thereby obtain a stable high voltage output. For a 13.6 V output this type of source is ideal for powering mobile communication equipment such as VHF and UHF transceivers for automotive use, on a repair bench or for fixed use. The circuit shown in the figure uses two 2N3055 transistors each controlling a current of 2.5 A which gives a maximum output value of 7.5 A. If the reader needs less current, it can use only one or two 2N3055. Note that at the emitter of each transistor we use a low value wire resistor. The purpose of this resistor is to ensure that the current is divided equally among all the transistors, since in conduction they have different resistances. Without them, the current would split unevenly, overloading one of the transistors that it would then burn. When assembling this type of source, the main care is to use wires of a thickness appropriate to the intensity of the current to be conducted. It will be convenient to protect the circuit by fuses both at the entrance and at the exit. It is also important to note that power transistors must be equipped with excellent heat radiators. The 7812 integrated circuit also needs to be mounted on a heat radiator. The 0.1 ohm and 4.7 ohms resistors must be wired. In the trimpot you can adjust the output voltage to values between 12 and 13.6 V approximately.




