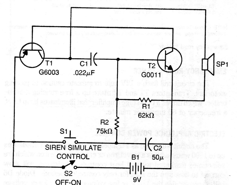
In the circuit of the figure, when pressing S1 the sound varies according to the value of R2 and capacitor C2. These components can be changed to obtain the desired effects. T1 can be a BC558 and T2 a BD135. The circuit can be powered by voltages between 6 and 12 V. We obtained this circuit from an old American publication, but with the changes made to the components it works perfectly. The speaker is either 4 or 8 ohms.




