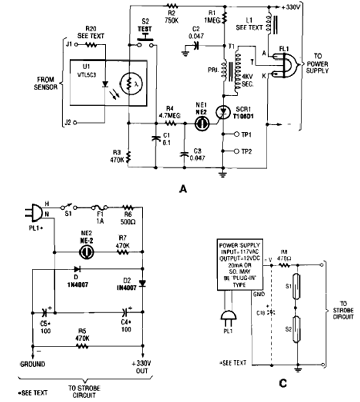
We found this circuit in volume 5 of the 1995 Encyclopedia of Electronic Circuits. It fires a high-power pulsating xenon light.
The circuit shown is suggested by National Semiconductor in its 1994 Linear Applications Handbook. We...
The ZN416E integrated circuit is uncommon today. It consists of a complete radio, like the one...
In the figure we show how to implement a voltage reference with the ON Semiconductor rail-to-rail...