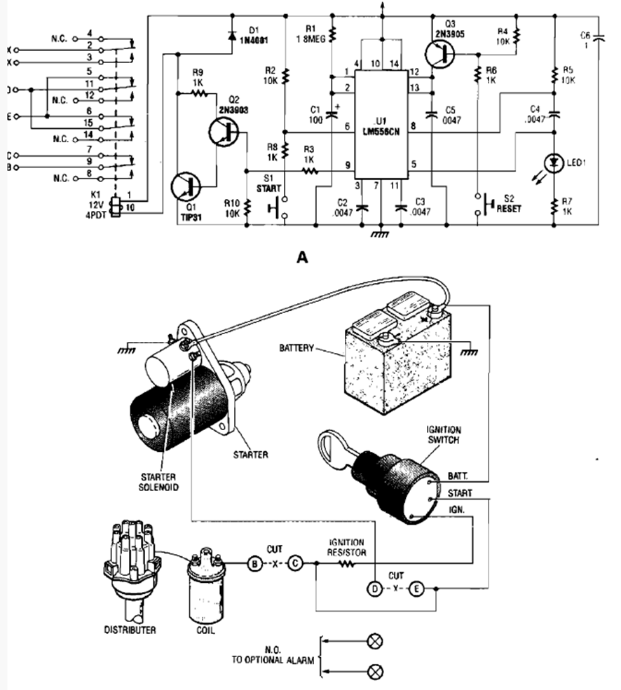
This circuit deactivates the ignition system after a certain time when you leave the vehicle. In case of a robbery, the thief sees the vehicle stop after a certain time when you leave and he takes over driving. The circuit is from a Popular Electronics from the 80s.




