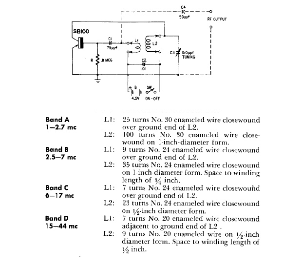
This circuit supports several sets of coils and can oscillate from 1 to 44 MHz. The transistor is an old special type, as the circuit was found in documentation from the 60s.

This circuit supports several sets of coils and can oscillate from 1 to 44 MHz. The transistor is an old special type, as the circuit was found in documentation from the 60s.
