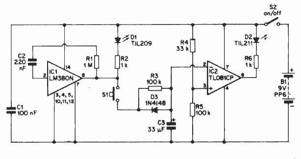
Who is faster? or reaction game are other names for this circuit that we find in old documentation. The circuit provides the LED indication.

Who is faster? or reaction game are other names for this circuit that we find in old documentation. The circuit provides the LED indication.
