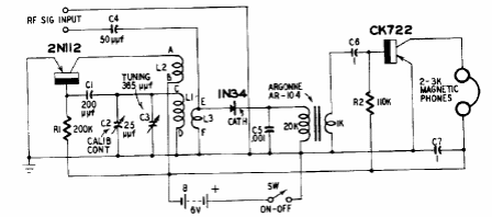
This circuit determines the frequency of a signal by beating with a known signal. The circuit was found in American documentation from the 60's. The coils are according to the frequency to be measured.

This circuit determines the frequency of a signal by beating with a known signal. The circuit was found in American documentation from the 60's. The coils are according to the frequency to be measured.
