This circuit uses a heated filament as a sensor. With the air current it changes resistance, and the circuit detects it. The circuit is from a 1969 EEE.
This circuit with integrated TTL 7400 has a good teaching purpose, drawing one of two LEDs. The...
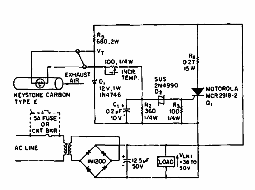
Found in American documentation from the 70s, this circuit uses components of the time, uncommon...
This circuit makes use of a diac to stop the activation of a sensitive reed relay 1 mA. The trip...