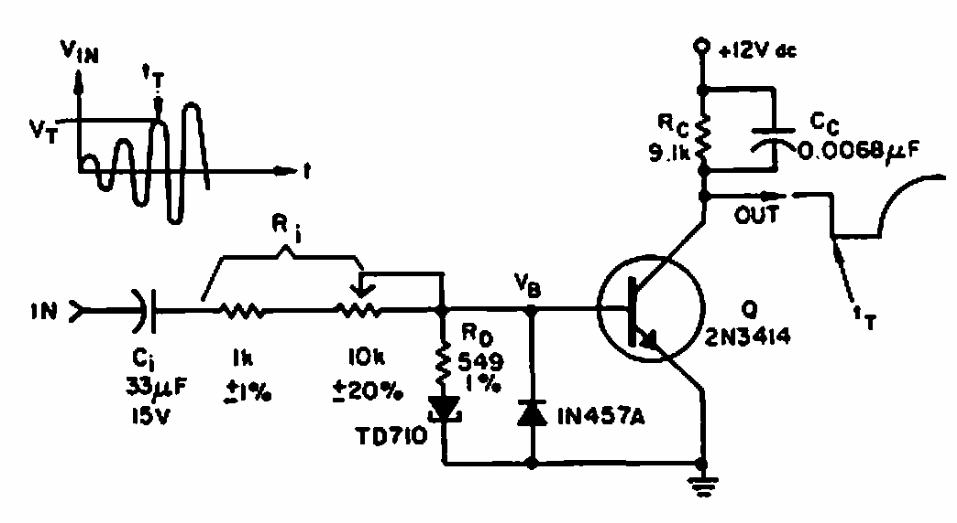
This circuit for a frequency of 10 kHz was found in an Electronic Design. It makes use of a tunnel diode. The transistor admits equivalent.
With the circuit shown, you can have a fast response with a Darlington configuration. The circuit is...
We found this multiple thermostat circuit in July 1980 Radio Electronics magazine. It uses...
Mouser Electronics is already providing new MOSFETs EF SIHx28N60EF of Vishay series for voltages...