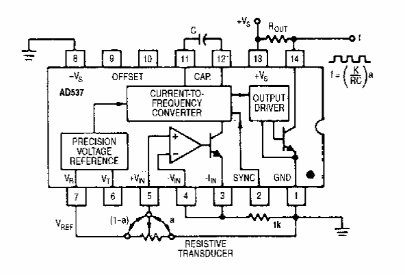
We found this circuit in an Analog Devices documentation from the 90s. The circuit is based on a component of the time, which is not common nowadays. This is the AD537.

We found this circuit in an Analog Devices documentation from the 90s. The circuit is based on a component of the time, which is not common nowadays. This is the AD537.
