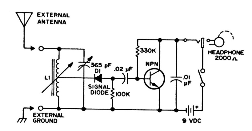
This medium wave radio works with any general purpose NPN transistor. The diode must be made of germanium and a coil formed by 50 + 50 turns of wire 26 to 30 on a ferrite rod.
The circuit presented is suggested by National Semiconductor in its Linear Applications Handbook. The...
In this application we show how to get tuning from 0 V to an LM350 regulator IC. The setting also...
This frequency corresponds to musical note C3. Frequency accuracy depends on the accuracy of the...