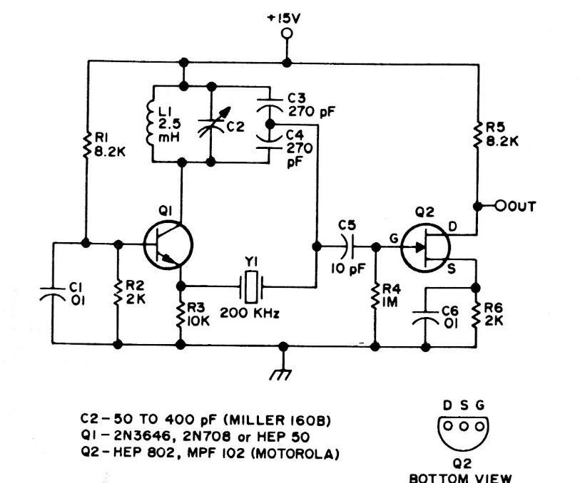
This circuit is from old documentation, but it can be implemented with modern transistors such as 2N2222 for bipolar and BF124 for FET. The crystal determines the operating frequency.
This circuit was found in a Texas Instruments optoelectronics documentation. The gain depends on...
This oscillator circuit is from a Radio Electronics magazine from September 1960. The frequency depends...
Using a reed relay, this protection circuit depends only on the adjustment of the closing point by a wire...