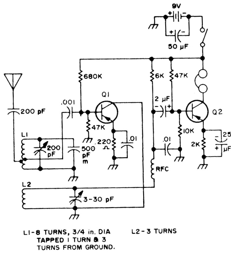
This receiver of two transistors for the 3.5 MHz band was found in a circuit manual from the 80's. The coil data are found next to the diagram and the transistors can be general purpose PNP.
This circuit was found in a Texas Instruments optoelectronics documentation. The gain depends on...
This oscillator circuit is from a Radio Electronics magazine from September 1960. The frequency depends...
Using a reed relay, this protection circuit depends only on the adjustment of the closing point by a wire...