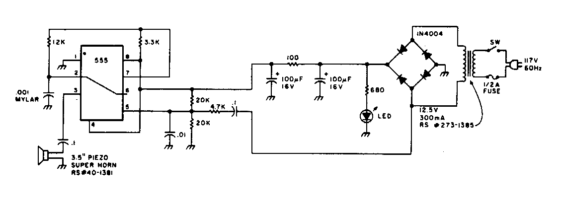
This repellent operates with frequencies from 30 to 45 kHz, serving for insects and rodents. The circuit is from 80s documentation. The transducer is a piezoelectric type.
With this circuit it is possible to monitor the charge and discharge of a battery. The circuit is...
Found in 90s Radio Electronics, this shield can control high voltage loads in the power grid....
The duration of the output pulse in this circuit depends on C. This capacitor can have values in...