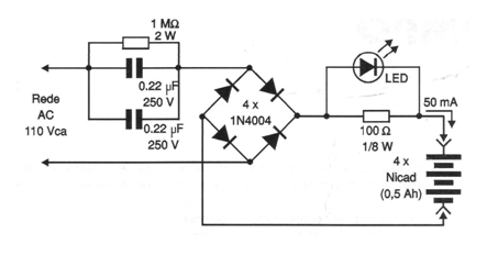
This simple low-current charger does not use a transformer, having been found in a 2001 documentation. The input capacitors must be made of metallized polyester and the circuit is suitable for small or medium Nicad batteries.

This simple low-current charger does not use a transformer, having been found in a 2001 documentation. The input capacitors must be made of metallized polyester and the circuit is suitable for small or medium Nicad batteries.
