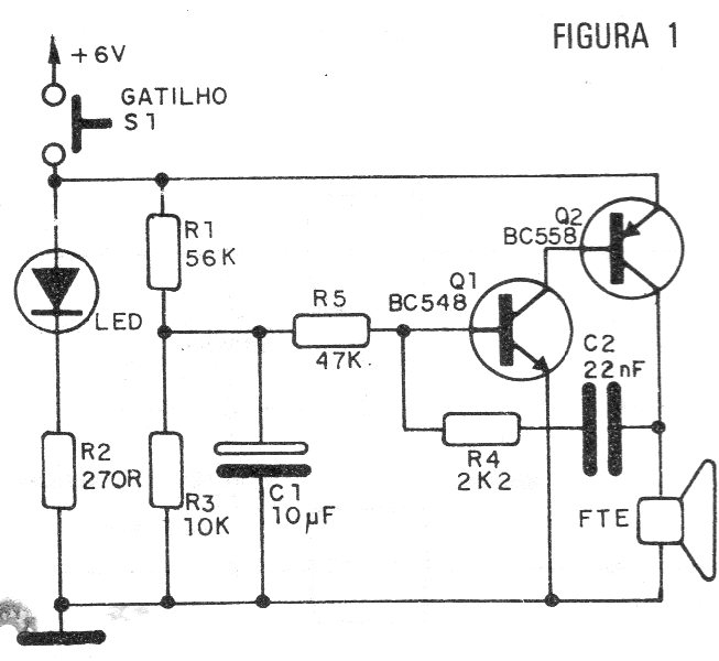
This very simple configuration produces the sound of a space gun or laser. The circuit uses common components in our market and is powered by ordinary batteries. The effect can be changed by resistors R1 and R2 and capacitor C1.
This very simple configuration produces the sound of a space gun or laser. The circuit uses common components in our market and is powered by ordinary batteries. The effect can be changed by resistors R1 and R2 and capacitor C1.