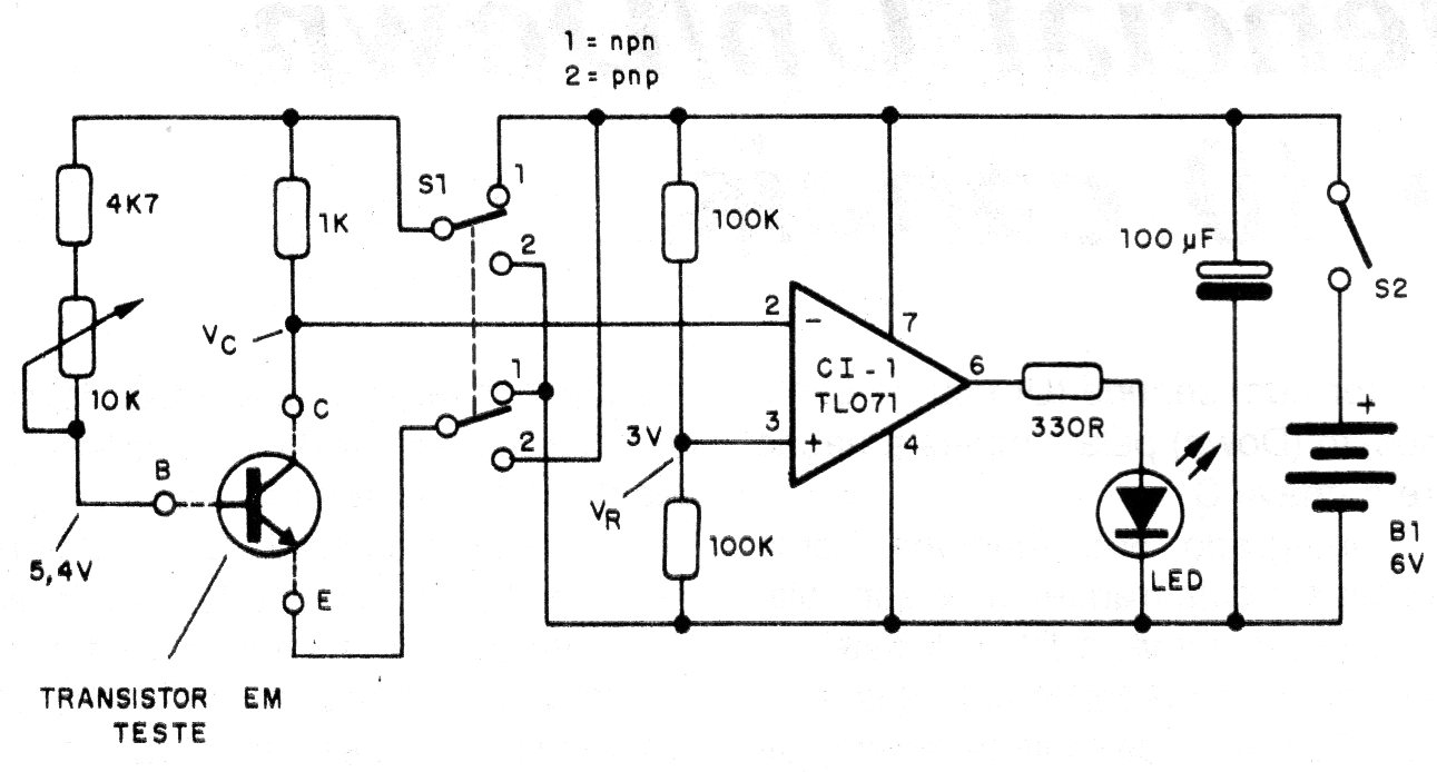
This circuit is from 1990 documentation. It uses a bridge with LEDs and the potentiometer must be calibrated in terms of hFE according to the table. The circuit is powered by 4 batteries and it can be used with transistors for generating, medium and high-power use, in addition to Darlingtons.




