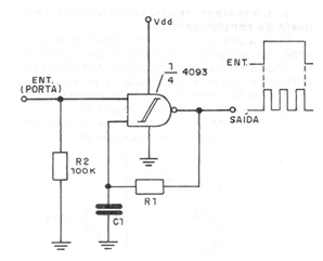
In this application, the astable multivibrator comes into action only in the presence of an input signal. With the HI level at the input, the oscillator kicks in producing a rectangular output signal. As in the previous case, the frequency limits are determined by the characteristics of the 4093 itself and by the external components, specifically the presence of leaks in C. The frequency can be calculated with approximation by the inverse of the RC product. The circuit can be used as a shield for microcontrollers.




