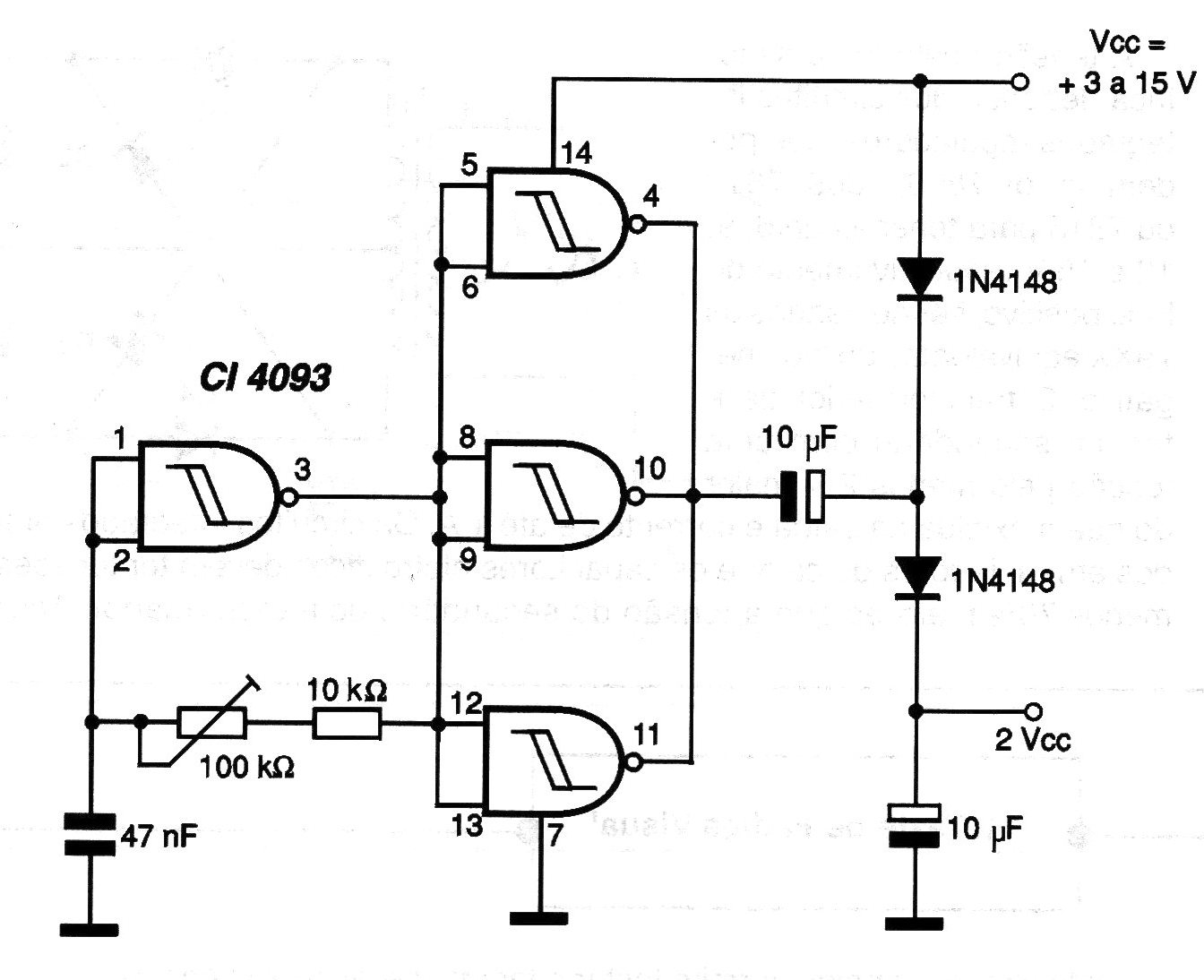
This voltage doubler is indicated for applications where a voltage equal to twice that applied at the input is required, but under a low current regime (for polarization only). The output current is limited to a few microamps. The adjustment of the best performance point is made in the 100 k ohms trimpot. The capacitor determines the frequency of the circuit and can be changed according to the application. With the use of a transistorized power step at the output of the oscillator, it is possible to increase the current capacity of this folder. We can use a Power-FET or even a bipolar one like the BD135 which, evidently, must be mounted on a heat radiator.




