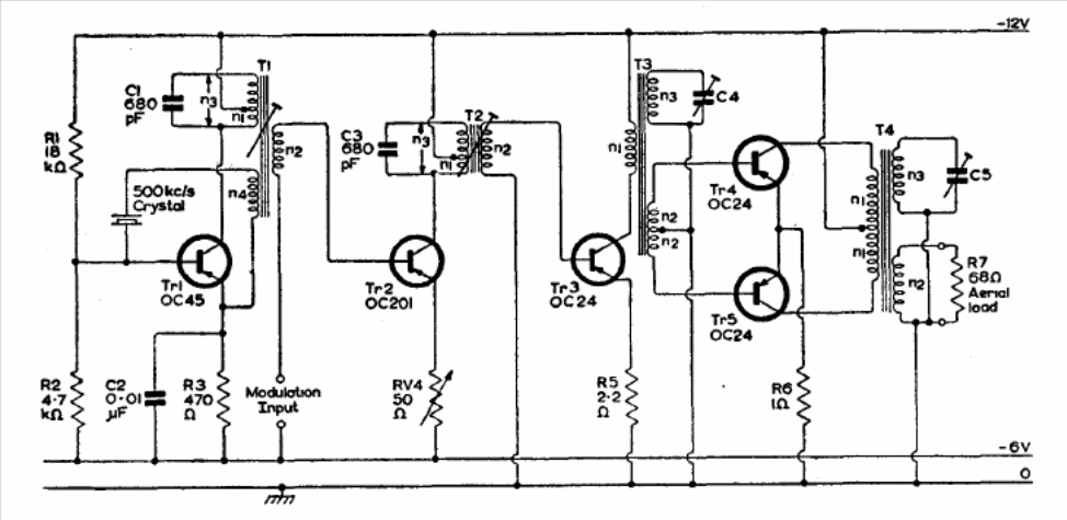
The coils of this circuit will determine the transmission frequency of this device. The circuit is from the 1960 Mullard transistor reference manual and makes use of germanium transistors.
September 2016 - can be purchased from Mouser Electronics the new transceivers MAX348x and MAX349x from...
This circuit was found in a 1978 English magazine. It is a configuration that aims to select the...
This simple rhythmic light for incandescent lamps can be found in old English documentation. The...