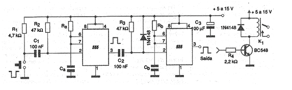
The purpose of the practical circuit shown in the figure is to generate a pulse of programmed duration after a certain time, also programmed. The circuit can either generate the pulse of intensity given by the supply voltage for direct use, or it can trigger a relay, for a higher power interface, or even the control of an automation.
In this Ra / Ca circuit, they determine the time for pulse production, that is, the delay, at the same time as the pulse duration, is determined by Rb / Cb. The formula for calculating this time in seconds is:
T = 1.1 x R x C
Where R can be Ra or Rb in ohms
C can be Ca or Cb in farads
Ra and Rb can have values between 1 nf and 1 000 uF typically, while Ra and Rb can have values between 1 k and 1 M.
The supply can be done with voltages between 5 and 15 V, depending on the excited load or the amplitude of the desired signal. The circuit can also use the low-consumption CMOS versions of the 555. In the standby condition the circuit consumption is extremely low.




