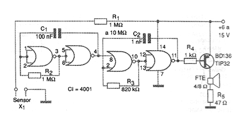
This application consists of a circuit that trips when the sensor resistance drops below a few megohms. This value is determined by resistor R1, in the circuit in the figure. When the circuit is triggered, it produces an intermittent tone, generated by an oscillator like that of the previous circuit (CIR8137). To use as a water alarm (water level or flood), the sensor consists of two wires with peeled ends. Their contact with water or moisture causes the alarm to go off. To use as a touch sensor, the sensor consists of two metal plates that must be touched simultaneously. One possibility is to ground the negative of the source and use only one flat iron as a touch sensor. In this case, the wire to the sensor must not exceed 1 meter, so that the captured noise does not cause an erratic trigger.




