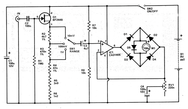
We found this circuit in an old English documentation from 1979. The circuit is very sensitive, because thanks to the FET it has a high input impedance. Accuracy depends on the tolerance of the resistors and instead of the indicator instrument, the corresponding current range of a common multimeter can be used. The bridge diodes must be germanium.




