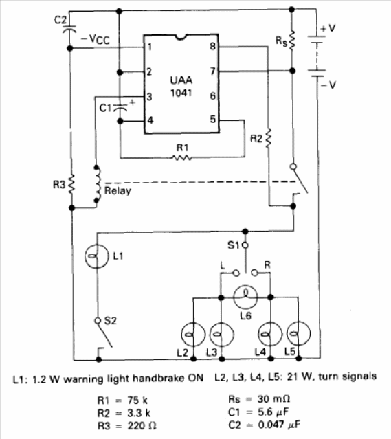
This automotive arrow was found in Motorola's 1990 Linear Databook. The circuit is for lamps, and component values are given below.

This automotive arrow was found in Motorola's 1990 Linear Databook. The circuit is for lamps, and component values are given below.
