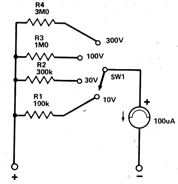
We found this circuit in an English documentation from 1979. It shows how you use a 100 uA microammeter on a 4-volt scale voltmeter. The circuit can be adapted for other instruments.

We found this circuit in an English documentation from 1979. It shows how you use a 100 uA microammeter on a 4-volt scale voltmeter. The circuit can be adapted for other instruments.
