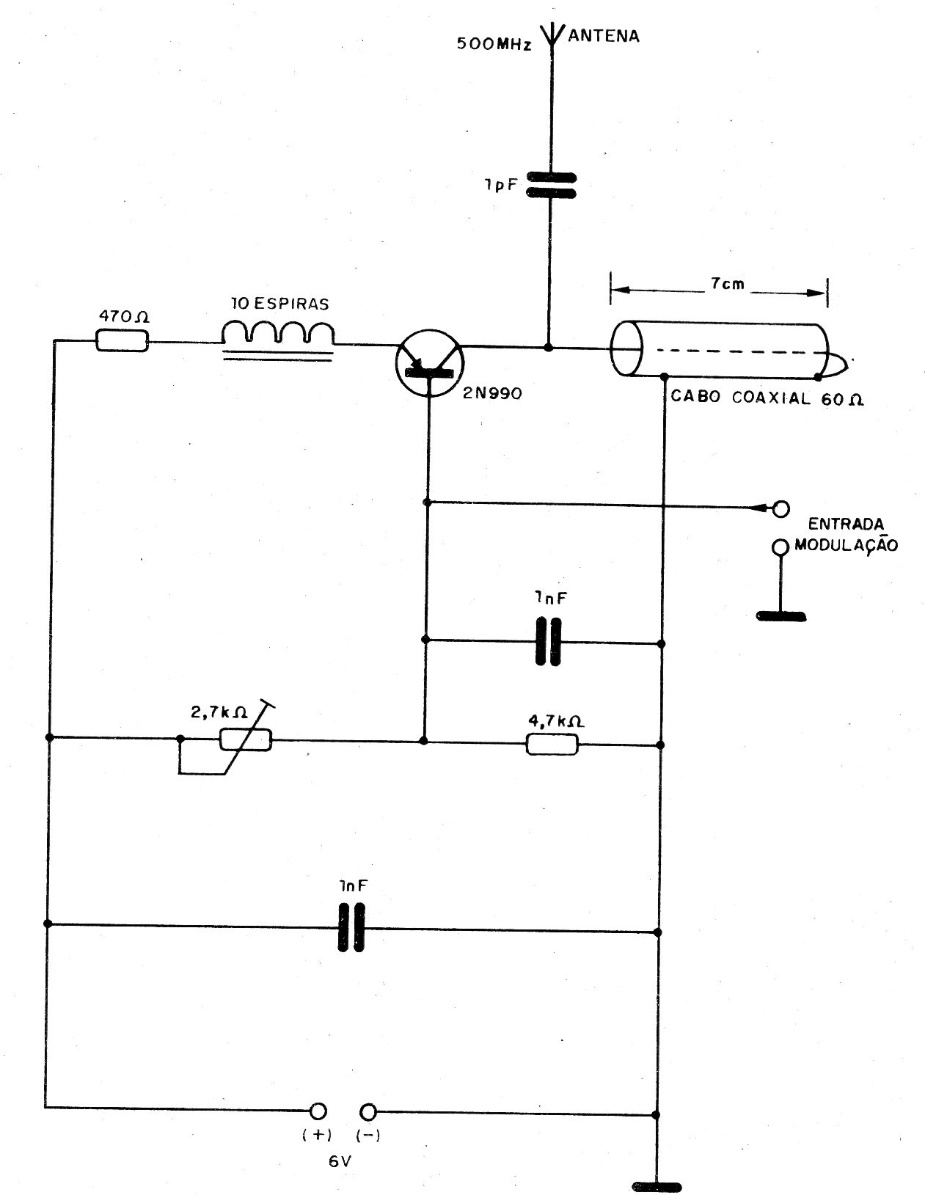
This circuit can be used as a base for a UHF transmitter or even a test equipment. The circuit is critical, and the capacitors must be ceramic. The oscillating coil is nothing more than a length of coaxial cable that results in the desired frequency.




