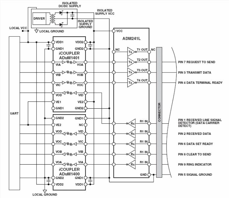
In critical applications of the RS-232 interface, the danger of induced voltages in the cables must be considered. One way to avoid the problem is using optical isolators. Analog Devices (www.analog.com) in its Application Note AN-740 gives practical circuits for this purpose with excellent explanations about the functioning of this type of interface. Bearing in mind that common digital optical couplers do not support RS-232 signals, the designer must be careful when choosing the correct device for the project. In the circuit shown in the figure. In the presented circuit, RS-232 transceivers use digital logic with signals between 0 and 5V or 0 to 3 V, being connected to a UART or processor. The presented project uses an optical coupler from Analog specially designed for this purpose. Note that the power source diagram is also included.




