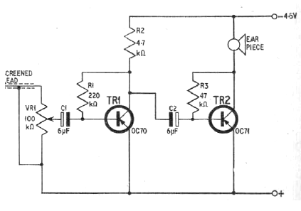
This amplifier for medium or high impedance magnetic headsets (above 200 ohms) was found in an English publication in 1975. The transistors are made of germanium, but the circuit can be made with silicon transistors and the power is between 3 and 6 V.




