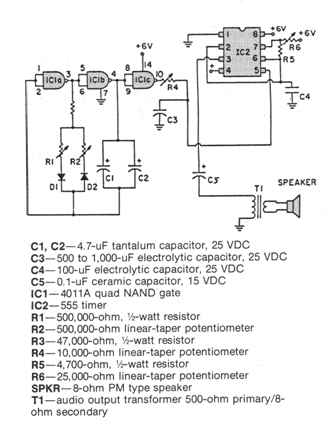
The presented circuit produces the sound of a fireman's siren. In place of the output transformer with the speaker, a higher power amplifier stage can be used. The circuit works with voltages from 6 to 12 V. We found this configuration in an American publication from the 1980s.




