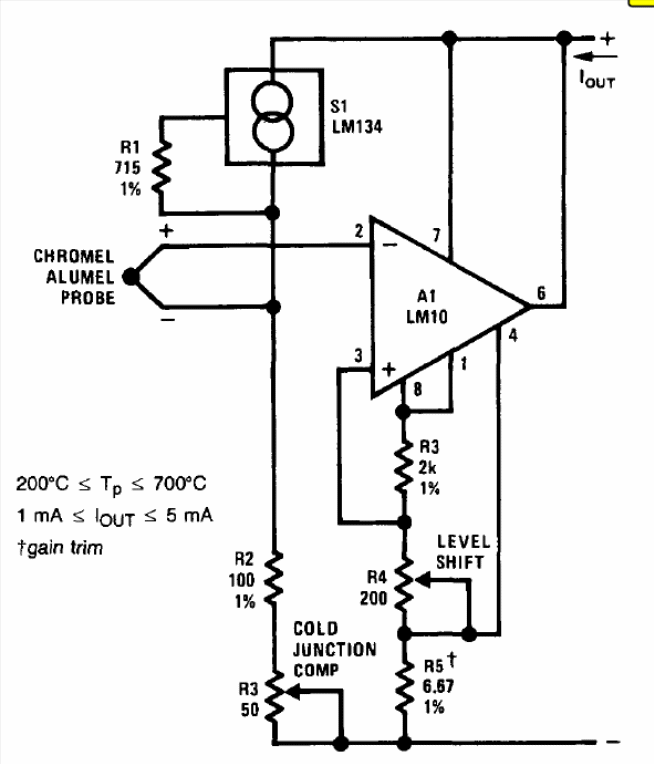
The circuit presented is from the Linear Applications Handbook of the National Semiconductor of 1994. The components used are uncommon today, but the configuration can be adapted to use more modern components.
The circuit presented is from the Linear Applications Handbook of the National Semiconductor of 1994. The components used are uncommon today, but the configuration can be adapted to use more modern components.