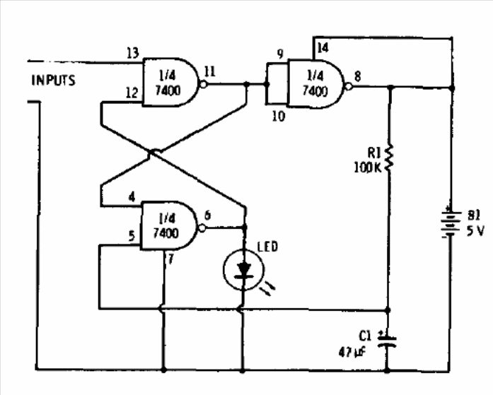
This monostable circuit, from a 1977 Radio Shack documentation, uses a 7400. The time is given by the capacitor and the power must be supplied with 5 V.
This simple transistor tester circuit was found in the February 1968 issue of Radio Electronics magazine....
This powerful inverter provides a high-quality sine wave signal. I found it in a Radio Electronics issue...
This squelch is activated by its own noise, acting automatically. It is used in communications...