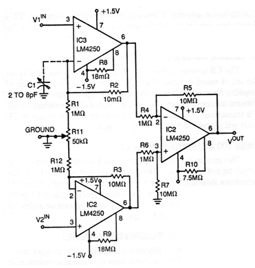
With changes, this circuit from a documentation of the 70s, can be adapted to use more modern operational amplifiers. The 18 M compensation resistors can be eliminated in some more modern types of operators that have internal compensation. The power supply must be symmetrical and depending on the operational used, its voltage must be increased. Care with the layout is important for the performance of this type of circuit. The voltage gain of the circuit is 100 times.




