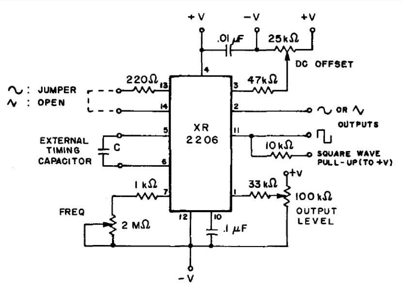
We found this circuit in a 1977 documentation. The XR2206 is not easy to obtain, but it consists of a function generator with 3 waveform signals in the range of 0.5 to 100 kHz. The external capacitor determines the frequency range. For 0.1 uF we have from 5 to 10 kHz and for 10 nF from 50 to 100 kHz. The circuit can be powered by symmetrical sources from 6 to 12 V.




