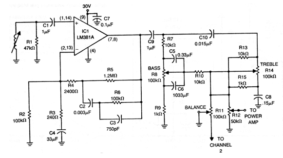
We found this circuit in an American publication from the 70s. The circuit has only the integrated circuit as its critical component, but equivalents can be tried, with the reduction of the supply voltage. For the 741, a 15 V supply can be used. The potentiometers must be linear, and the signal cables must be shielded. Consumption is very low, and the source must have excellent filtering.




