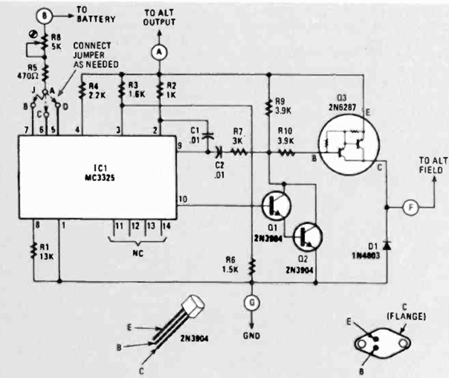
This circuit was found in the June 1980 issue of Radio Electronics magazine. The circuit uses an integrated circuit from time, and a power Darlington that must be equipped with a heat sink.
This circuit was obtained in an American documentation translated in the 80's. The circuit can be...
This electronic roulette circuit with 10 numbers was found in a Popular Electronics from the 80s....
Based on a CA3059 zero-cross switch, this circuit was found in the July 1995 Electronics Now...