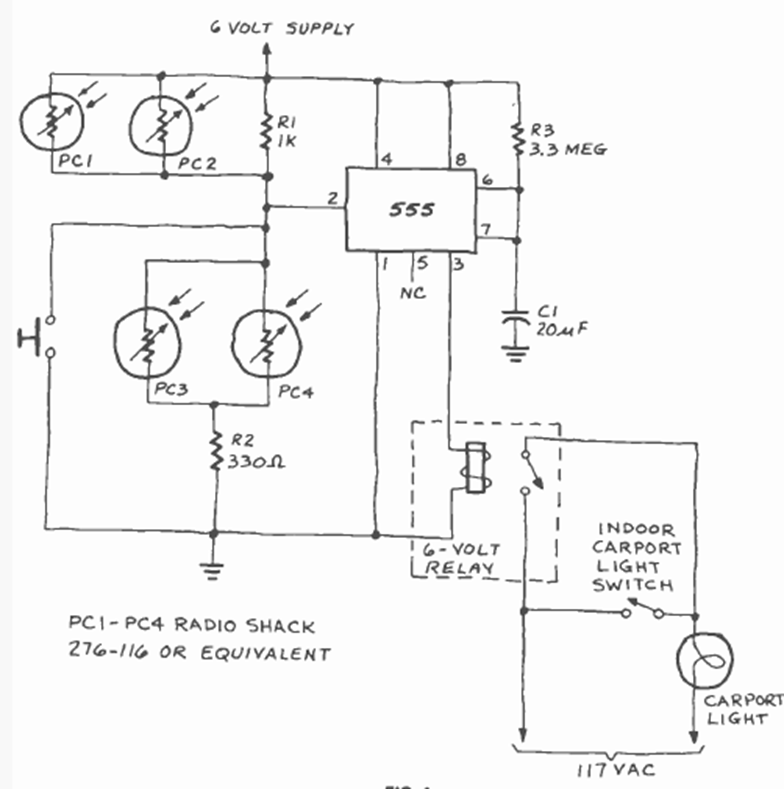
Indicated for automotive applications, this circuit was found in the November 1980 issue of Radio Electronics magazine. The sensors are common LDRs, and the indicated application is the illumination of garage lights.
Indicated for automotive applications, this circuit was found in the November 1980 issue of Radio Electronics magazine. The sensors are common LDRs, and the indicated application is the illumination of garage lights.