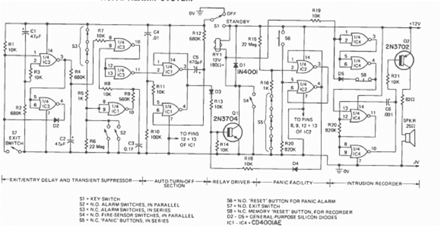
This circuit was found in an article in Radio Electronics magazine from May 1975. The circuit has several features and is powered by a 12 V source or battery.
In the figure we have the transmitter of a data transmission system with optical fiber suggested by...
This circuit was found in a 1969s American documentation. With modern components, it can be used...
The maximum input voltage of this circuit is 20V and the output current is 250 mA. The circuit is from...