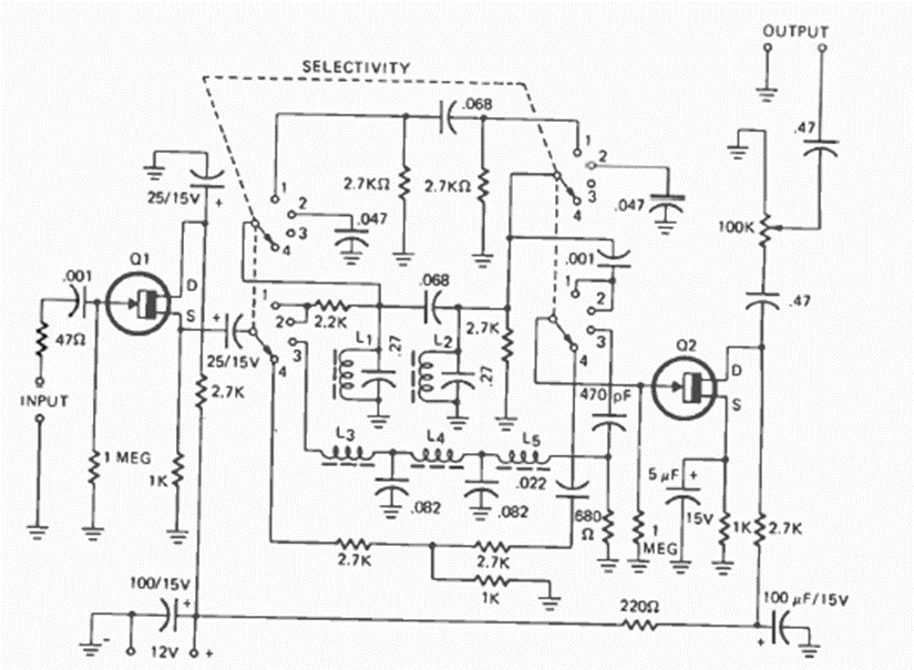
This sophisticated filter for audio signals was found in Radio Electronics magazine. The frequencies are determined by LC circuits. The circuit has selectivity selected by a switch.
This oscillator was found in the November 1986 issue of Radio Electronics magazine. The frequency...
This sophisticated circuit with a low, medium, and high treble filter is from 1990 documentation. The...
This circuit was obtained from a 1998s Popular Electronics. The magazine no longer exists, but the...