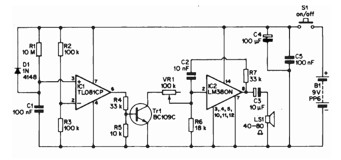
This LM380-based circuit was found in documentation from the 1980s. The components are current, and the transistor may be a general-purpose equivalent. Note the use of a medium impedance speaker.
This ultra-simple test circuit is of great use in any electronics bench. The power is supplied by a...
This circuit was found in an Electronics World magazine from 1990. The circuit can be mounted...
This Pierce oscillator was found in American documentation from the 1980s. Transistors support modern...