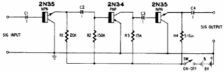
This circuit was obtained from an old American publication. Transistors are germanium types of the time. The input impedance is 200k and the voltage gain is 50 times or 34 dB.

This circuit was obtained from an old American publication. Transistors are germanium types of the time. The input impedance is 200k and the voltage gain is 50 times or 34 dB.
