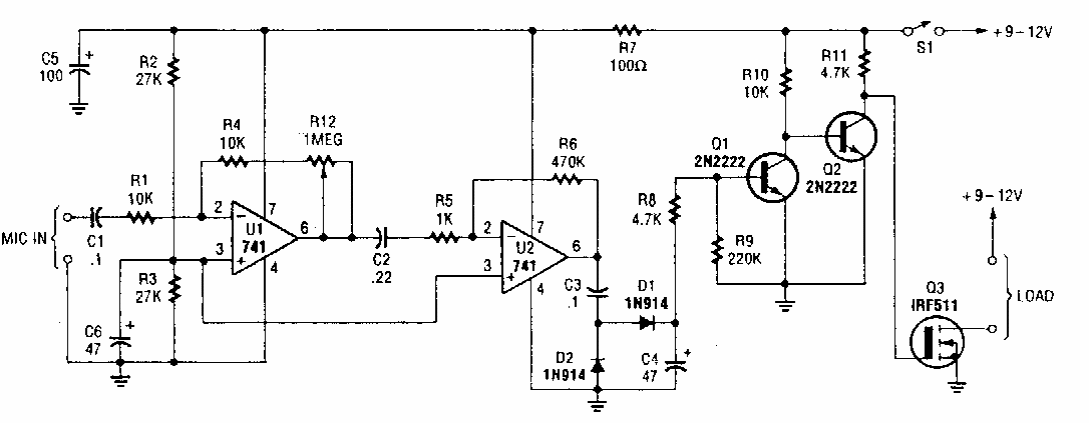
This sonic relay or vox was found in a Popular Electronics from the 90's. The power MOSFET can be of any type determining the controlled load.
This circuit was published in Popular Electronics from the 90's. The components are common, as...
This circuit is from a 1982 documentation. It can be modernized using LEDs in series with 470 ohms...
The CMOS 4046 integrated circuit is not very common today, consisting of a very efficient PLL for...