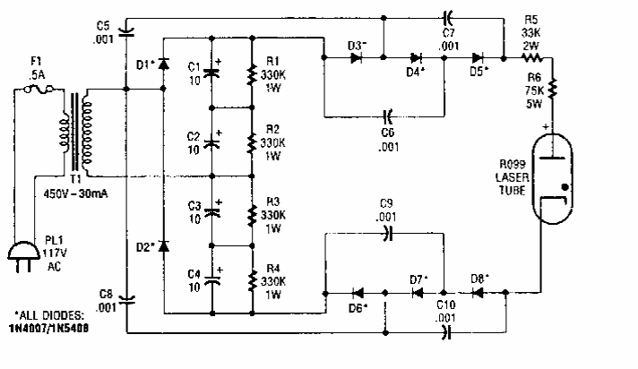
This high voltage source for gas LASER was found in documentation from the 1990s. The circuit is low current.
With the circuit shown, you can have a fast response with a Darlington configuration. The circuit is...
We found this multiple thermostat circuit in July 1980 Radio Electronics magazine. It uses...
Mouser Electronics is already providing new MOSFETs EF SIHx28N60EF of Vishay series for voltages...